AMD veut booster la DDR5 : une nouvelle mémoire deux fois plus rapide arrive !
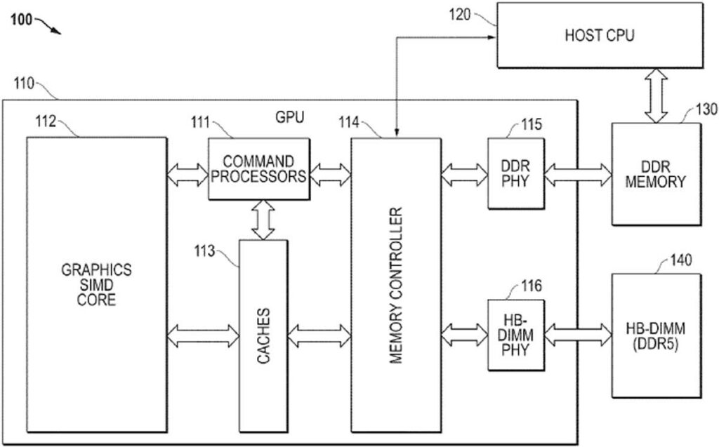
Bonne nouvelle pour les amateurs de gaming, d’IA et de PC survitaminés : AMD a déposé un brevet pour une nouvelle technologie mémoire baptisée HB-DIMM (High-Bandwidth DIMM). L’idée ? Doubler la vitesse de la DDR5 sans attendre une nouvelle génération de puces.

Comment ça marche ?
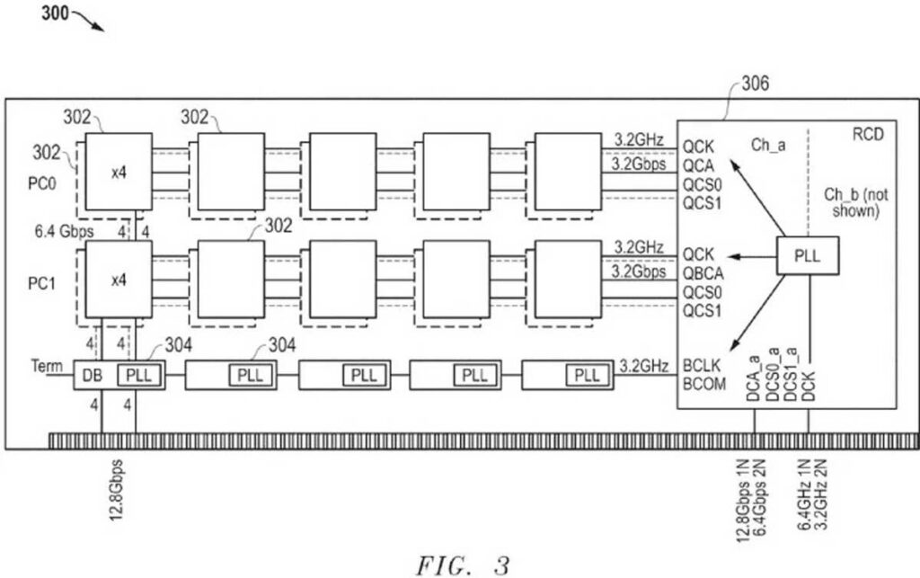
Traditionnellement, pour accélérer la mémoire vive, il faut changer le silicium (les puces elles-mêmes) ou augmenter les fréquences, deux solutions coûteuses et complexes. AMD a trouvé un autre chemin : ajouter directement sur les barrettes de mémoire des composants « intelligents » capables de combiner deux flux en un seul, beaucoup plus rapide.
Résultat : on passe de 6,4 Gb/s par pin à 12,8 Gb/s par pin. En clair, la bande passante est multipliée par deux, et le processeur reçoit beaucoup plus de données en un temps record.


Pourquoi c’est important ?
Cette avancée est surtout pensée pour les charges de travail qui demandent énormément de bande passante :
- Intelligence artificielle : traitement de gros volumes de données en temps réel.
- APU et iGPU (processeurs avec partie graphique intégrée) : plus de puissance pour les jeux et les applications sans carte graphique dédiée.
- Gaming : moins de ralentissements, plus de fluidité.
Seul hic : plus de vitesse signifie aussi plus de chaleur et plus de consommation. Il faudra donc un refroidissement adapté pour profiter pleinement de cette mémoire.

AMD, champion de la mémoire haut débit
Ce n’est pas la première fois qu’AMD secoue le marché. La marque avait déjà co-développé la HBM (High Bandwidth Memory), devenue un standard pour les GPU haut de gamme et l’IA. Avec le HB-DIMM, AMD prouve encore une fois qu’elle veut pousser la DDR5 dans ses retranchements.
Si cette technologie arrive sur le marché, elle pourrait changer la donne pour les PC gamers, les datacenters, et toutes les applications gourmandes en puissance.
Bref : préparez-vous, la mémoire DDR5 by AMD pourrait bientôt passer la seconde… et ça va envoyer.



Laisser un commentaire